智能型防爆电动球阀
技术参数
产品型号:Q941F
公称通径:DN15-300mm
公称压力:PN1.6、2.5、4.0、6.4 MPa;ANSI 150、300LB
连接方式:法兰式
执行器选配:防爆调节型,智能防爆调节型
电源电压:AC220V、AC380V、DC24V(其它特制)
适用温度:PTFE≤150℃、RTFE≤180℃、PPL≤300℃、硬密封≤450℃
环境温度:标准型:-20 - 80℃
防护等级:IP55、IP65、IP67
销售热线:
产品详情
产品概述
智能型防爆电动球阀由角行程防爆电动执行器及球阀球体组成,是由电子式角行程电动执行机构3810或HQ系列与球阀调节机构组成。该阀具有结构简,切换迅速、流通能力大,零泄漏等特点,适用于高粘度、含纤维、固体颗粒流体的场合,防爆型电动球阀广泛应用于石油化工,冶金、轻工等工业自控领域对气体、液体输送管道中介质的切断或流通。执行器采用一体化设计,输入220V电源即可直接进行开关量调节,亦可内置伺服模块,输入控制信号(4~20mA DC或1~5VDC)及单相电源即可控制运转。通常用于密封要求严格的场合,除控制气体、液体、蒸汽介质外,还适宜控制污水和含有纤维性杂质的介质。广泛用于石油、化工、冶金、轻工、造纸、电站、制冷等工作领域。
主要特点
1、适用于两位切断、调节的场合。
2、可实现对石油、化工、造纸、冶金、污水处理、油罐车等运输管道内介质的切断和流通。
3、密封性能优良、流通能力大、装卸维护方便、流阻小、密封可靠,甚至切断。
4、体积小、重量轻、推力大、功能强、伺服放大器内装、操作方便、可靠性高。
5、流向可任意,可调范围广,能用于高压和大口径场合,控制高粘度,带有纤维和细颗粒的介质。
6、采用直连方式,电动执行机构内置伺服系统,无须另配伺服放大器,输入输出信号4-20mA及3800VAC电源即可控制运转。具有连线简单、结构紧凑、动作稳定可靠等优点。
主要技术参数
| 公称通径(mm) | 15 | 20 | 25 | 32 | 40 | 50 | 65 | 80 | 100 | 125 | 150 | 200 | 250 | 300 |
|
流量系数 Kv |
21 | 38 | 72 | 112 | 170 | 273 | 384 | 512 | 940 | 1452 | 2222 | 3589 | 5128 | 7359 |
| 公称压力(MPa) | PN1.6、2.5、4.0、6.4MPa | |||||||||||||
| 泄漏量 | 软密封:零泄漏;硬密封:≤额定流量的10-5 | |||||||||||||
| 阀体形式 | 两段式阀体(浮动球体) | 两段式阀体(固定球体) | ||||||||||||
| 阀芯形式 | “O”型球形阀芯 | |||||||||||||
| 密封填料 | 聚四氟乙烯(PTFE)、金属石墨缠绕垫片 | |||||||||||||
| 连接形式 | 法兰、焊接、螺纹 | |||||||||||||
| 流量特性 | 近似快开特性 | |||||||||||||
| 可调范围 | DN15-65 | DN80-300 | ||||||||||||
| 250:1 | 350:1 | |||||||||||||
| 基本误差 | ±1% | |||||||||||||
| 死区 | ≤1% | |||||||||||||
| 回差 | ≤1% | |||||||||||||
| 适用温度 | 密封面 | |||||||||||||
| PTFE≤150℃、RTFE≤180℃、PPL≤300℃、硬密封≤450℃ | ||||||||||||||
| 配置执行机构 | 可配HQ、3810等系列角行程防爆电动执行机构 | |||||||||||||
| 控制方式 | 开关到位灯(开关两位控制)、智能调节(4~20mA模拟量信号控制) | |||||||||||||
主要零件材质
| 零件名称 | 材料 | |||
| 阀体 | WCB | 304(CF8) | 316(CF8M) | 316L(CF3M) |
| 球体 | 2Cr13+氮化处理 | 304 | 316 | 316L |
| 阀杆 | 2Cr13 | 304 | 316 | 316L |
| 阀座密封圈 |
PTFE(聚四氟乙烯)、PPL(对位聚苯)、金属密封(硬质合金) |
|||
| 填料 | V型PTFE四氟填料、柔性石墨 | |||
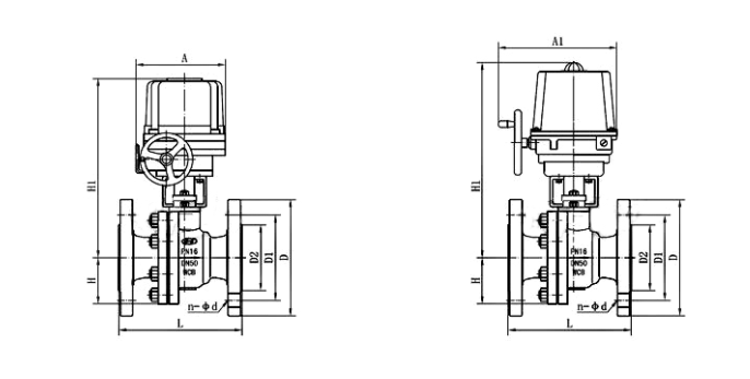
主要外形尺寸
|
公称通径 DN(mm) |
15 |
20 |
25 |
32 |
40 |
50 |
65 |
80 |
100 |
125 |
150 |
200 |
250 |
300 |
|
L |
130 |
140 |
150 |
165 |
180 |
200 |
220 |
250 |
280 |
320 |
360 |
400 |
630 |
750 |
|
H |
44.5 |
49 |
55 |
65 |
65 |
75 |
90 |
95 |
115 |
127 |
140 |
172.5 |
310 |
350 |
|
H1 |
根据所配执行机构型号而定 |
|||||||||||||
|
D |
95 |
105 |
115 |
140 |
150 |
165 |
185 |
200 |
220 |
250 |
285 |
340 |
405 |
460 |
|
D1 |
65 |
75 |
85 |
100 |
110 |
125 |
145 |
160 |
180 |
210 |
240 |
295 |
355 |
410 |
|
D2 |
46 |
56 |
65 |
76 |
84 |
99 |
118 |
132 |
156 |
184 |
211 |
266 |
319 |
370 |
|
n-φd |
4-14 |
4-14 |
4-14 |
4-18 |
4-18 |
4-18 |
4-18 |
8-18 |
8-18 |
8-18 |
8-22 |
12-22 |
12-26 |
12-26 |
|
A、A1 |
根据阀门所需力矩而定,配置机型不同,外形尺寸也不相同 |
|||||||||||||

查看手机网站