Diaphragm Safety Relief and Sustaining Valve
Technical Specifications
Item model number: AX742X
Nominal diameter: DN50~1200mm
Nominal pressure: PN1.0~4.0MPa
Applicable temperature: 0°C~80°C
Applicable medium: water
Sales Hotline:
Product Details
Product Description
AX742X diaphragm safety pressure relief/pressure sustaining valve is installed on the pipelines of high-rise buildings, fire water supply systems and other water supply systems. When the pressure in the water supply pipeline exceeds the set pressure of the pressure relief valve, the pressure relief valve automatically opens and quickly releases the pressure. , protect the safety of the pipeline, and can also be used as a pressure sustaining valve to ensure the water supply pressure upstream of the main valve. It can accurately maintain the constant safety set pressure. Once the pressure is exceeded, the pressure relief valve will be opened quickly and the pressure will be released in time. Smooth and reliable closing, eliminating pressure aftermath.
The Main Technical Parameters
|
PN Mpa |
Shell test pressure Mpa |
Seal test pressure Mpa |
Voltage regulation range Mpa |
Applicable media |
Proper temperature ℃ |
|
1.0 |
1.5 |
1.1 |
0-1.0 |
Water |
0~80 |
|
1.6 |
2.4 |
1.76 |
0-1.6 |
||
|
2.5 |
3.75 |
2.75 |
0-2.5 |
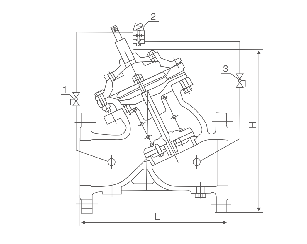
Main External Connection Dimensions
|
DN |
50 |
65 |
80 |
100 |
125 |
150 |
200 |
250 |
300 |
350 |
400 |
450 |
500 |
600 |
700 |
800 |
900 |
1000 |
|
L |
203 |
216 |
250 |
320 |
365 |
415 |
500 |
605 |
698 |
787 |
914 |
978 |
978 |
1150 |
1300 |
1450 |
1650 |
1800 |
|
H |
300 |
337 |
467 |
520 |
580 |
640 |
778 |
889 |
1010 |
1037 |
1264 |
1294 |
1324 |
1600 |
1750 |
1900 |
2100 |
2400 |

Check the mobile website