隔膜式安全泄压持压阀
产品详情
产品概述
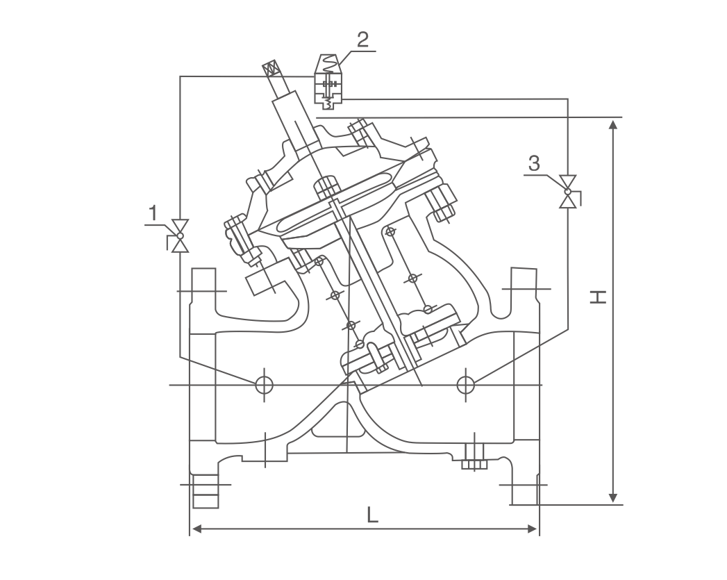
隔膜式安全泄压/持压阀是安装在高层建筑、消防给水系统以及其它给水系统的管道上,当给水管路中压力超过泄压阀设定压力时,泄压阀自动开启快速泄压,保护管线的安全,也可作持压阀用,保障主阀上游的供水压力。能准确保持不变的安全设定压力,一旦超压,泄压阀迅速打开,及时泄压。关闭平稳可靠,消除压力余波。
主要性能参数
|
公称压力Mpa |
壳体实验压力Mpa |
密封实验压力Mpa |
调压范围Mpa |
适用介质 |
适用温度℃ |
|
1.0 |
1.5 |
1.1 |
0-1.0 |
水 |
0~80 |
|
1.6 |
2.4 |
1.76 |
0-1.6 |
||
|
2.5 |
3.75 |
2.75 |
0-2.5 |
主要连接尺寸
|
DN |
50 |
65 |
80 |
100 |
125 |
150 |
200 |
250 |
300 |
350 |
400 |
450 |
500 |
600 |
700 |
800 |
900 |
1000 |
|
L |
203 |
216 |
250 |
320 |
365 |
415 |
500 |
605 |
698 |
787 |
914 |
978 |
978 |
1150 |
1300 |
1450 |
1650 |
1800 |
|
H |
300 |
337 |
467 |
520 |
580 |
640 |
778 |
889 |
1010 |
1037 |
1264 |
1294 |
1324 |
1600 |
1750 |
1900 |
2100 |
2400 |

查看手机网站